樓承板安裝施工中,不能不注意的那些細節
在之前的文章里已經和大家分享過關于壓型樓承板的優點、適用領域和施工工藝,這里不再贅述。今天,山西盛大鋼結構工程公司和大家聊一聊在安裝施工過程中那些不能忽視的細節。
一、安裝前的準備
認真熟悉圖紙,了解壓型樓承板的排版分布、尺寸把控以及其在鋼梁上的位置關系等等;在安裝之前,應著重檢查鋼梁的平整度和完善情況,認真清潔鋼梁面雜物和灰塵;檢查鋼梁表面是否存在防腐工藝,如果有必須將防腐表層打磨掉;并根據圖紙排版以及建筑軸線在鋼梁表面進行測量放線,并做好標記。
二、壓型樓層板安裝過程
1.吊放與鋪設:鋼結構廠家在出貨時應以安裝單元為單位打包成捆運輸至施工現場,并在目的地按照鋪裝順序整齊疊放;
2.在起吊之前,工作人員需按照設計施工圖紙對板型、尺寸、數量和所在部位以及配件進行確認,無誤后分別隨主體結構安裝順序和進度,吊運至各個施工位置整齊堆放。注意:堆放應分散,且在梁上緩慢下放,切勿粗暴吊放。這樣易損構件,也容易造成安全事故;
3.為確保壓型樓承板在吊運時不變形,應使用軟吊索或在鋼絲繩和板接觸的地方加膠皮,或在鋼板下使用墊木,但一定要保證捆綁牢固。
4.在堆放過程中,要保持兩端支撐寬度一致,避免傾倒而造成墜落事故;
5.鋪放時應先進行粗安裝,保證波紋對直,以便鋼筋在“波谷”內順利通過。吊裝就位后,先從鋼梁已彈出的起鋪線開始,延鋪設方向到控制線后適當調整板縫。

6.不規則面板鋪設時,應根據現場鋼梁的布置情況,以鋼梁的中心線進行放線,將樓承板在地面平臺上進行拼合演示,然后放出控制線,再根據它的寬度進行排版和切割。
需注意的是:當風速≥6m/s時禁止施工,如以拆開應重新捆扎,否則,壓型樓層板有可能被大風刮起,造成損壞和安全事故。
三、固定
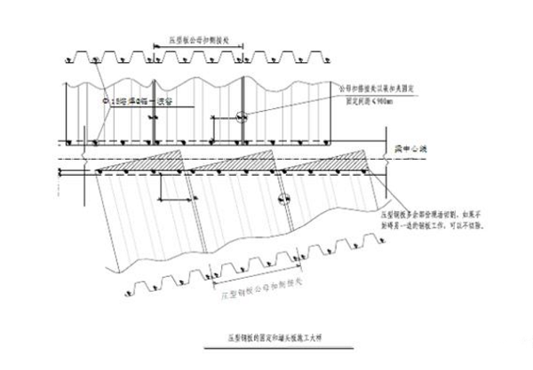
壓型樓承板搭接長度應按設計要求進行搭接,一側與端頭跟支撐鋼梁的搭接不小于50mm,板與板之間的側搭為“公母扣合”,為防止鋼板因承重而分開,應在側搭接處用嵌扣夾固定或電焊,最大間距為900mm。
切記:任何未固定的構件都有可能被大風刮起或滑落而造成事故。

好了,以上便是壓型樓承板在安裝過程中的流程和注意細節。細節決定成敗,同樣,細節也能夠反映一家企業的文化和實力。
本文鏈接: http://www.xinxinggroup.com.cn/news/0003406601.html 轉載請注明出處
- 太原鋼結構工程支座中心位移超差怎么辦 2021-04-02
- 不能忽視鋼桁架樓承板施工中混凝土澆筑前這段時間 2022-07-07
- 什么是鋼結構加工生產的關鍵?搞清楚這個再建廠房 2019-08-26
- 如何設計才能讓鋼結構廠房滿足客戶需求? 2018-03-13
- 鋼筋桁架樓承板搭接后這樣檢查 2021-04-20
- 為什么要加強介休鋼結構建筑在民用領域的推廣應用 2017-11-14
- 山西鋼結構工程廠家,27年老廠山西盛大鋼構 2023-12-30
- 鋼結構廠家告訴您焊接H型鋼加工的工藝流程 2018-08-21





